Product Introduction
Product Pictures
Product Features
1.The hydraulic torque converter and gearbox drive the engineering chassis, four-wheel drive, large driving torque, high bulldozing capacity, and strong climbing performance.
2.The cab meets the mine safety ergonomic design, has passed the two international certifications of FOPS anti-falling objects and ROPS anti-rollover, centralized control, reasonable layout, comfortable and convenient; at the same time, the cab can be raised and lowered, pitched, and convenient for personnel to operate accurately.
3.The hydraulic wet dual brake system, driving oil brake, parking closed spring brake, meet the safety use requirements of long ramps and low tunnels in the mine.
4.The fully hydraulic telescopic and rotating mechanical arm has strong carrying capacity, stable movement, flexible operation, and no construction blind spots.
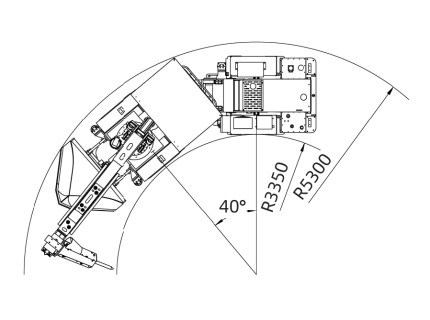
5.The articulated special chassis has a smaller turning radius, which can meet the needs of mine and tunnel operations to the maximum extent.
6.The breaker adopts the Korean engineer brand, with stable performance, flexible steering, high impact energy, small recoil force, and long service life.
7.The reinforced engineering chassis design enhances the rigidity and strength of the vehicle body, the vehicle weight is larger, and the scaling and crushing stability is better.
8.The boom is equipped with an overload protection system, which can effectively protect the boom and hydraulic cylinder during the contact-type scaling operation.
9.It is equipped with a slag-clearing shovel, which can quickly and properly clean the blast pile before mucking out, so that the scaling rig can go to the working face to clean the floating stones on the top plate and the side wall, with better passability and stronger adaptability.
































